Puissance de sortie: 1 mW
Size:13,5*22,2
L'UWB3000F00-X1 adopte la série de circuits intégrés DW3000 de Qorvo, un émetteur-récepteur monopuce ultra-large bande (UWB) basse consommation et économique, entièrement intégré, conforme à la norme IEEE 802.15.4-2020. Il est compatible avec les systèmes de télémétrie bidirectionnelle et TDoA, offrant une précision de positionnement de 10 centimètres.
Paramètre | Condition | Min. | Typique | Max. | Unité |
Tension d'alimentation | 2.4 | 3.3 | 3.6 | V | |
Plage de température de fonctionnement | - 40 | 25 | 85 | °C | |
Gamme de fréquences | CH5 | 6489,6 | MHz | ||
CH9 | 7987.2 | MHz | |||
Débit de données | 850 000 | 6,8 millions | bps | ||
Consommation actuelle | |||||
Courant de sommeil | <1 | u A | |||
Courant de réception continu | 72 | mA | |||
Courant de transmission continu (paquet de données) | 67 | m A | |||
Courant de mesure | Courant moyen | 21 | mA | ||
Courant de crête | 72 | mA | |||
Paramètre RF r | |||||
Puissance d'émission | @VCC= 3,3 V | -30 | 0 | dBm | |
Bande passante Tx ( BW) | 499,2 | MHz | |||
Recevoir les paramètres | |||||
Sensibilité des ordonnances | à 850 Kbps | - 100 | dBm | ||
à 6,8 Mbps | -94 | dBm | |||
Prend en charge CH5 et CH9 (6489,6 MHz et 7987,2 MHz)
Débits de données de 850 Kpbs et 6,8 Mbps
Longueur du paquet jusqu'à 1023 octets
Prend en charge les schémas de positionnement bidirectionnel et TDoA
Puissance d'émission programmable
Localisation des actifs avec une précision de 10 cm
Positionnement du personnel dans la production industrielle à grande échelle
Différents scénarios de positionnement en intérieur
Positionnement des mines de charbon souterraines
Positionnement du personnel hospitalier


Numéro de broche | Définition de la broche | E/S | Description |
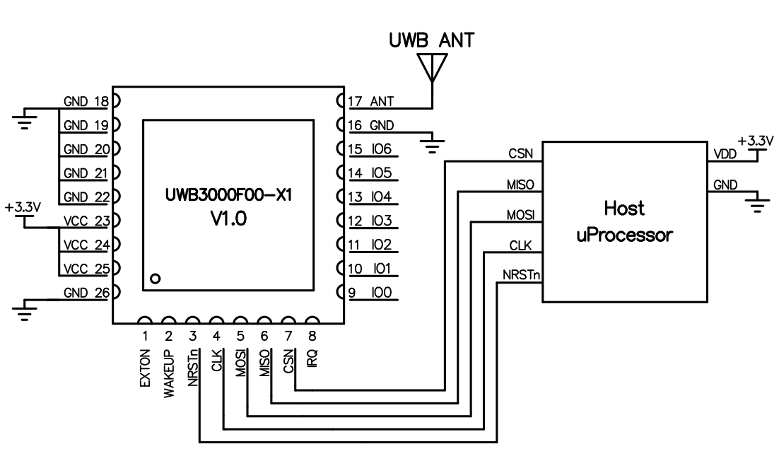
1 | EXTON | FAIRE | Activation d'un appareil externe. Activée lors du réveil et restant active jusqu'à la mise en veille de l'appareil. Elle permet de contrôler un convertisseur CC-CC externe ou d'autres circuits non nécessaires lorsque l'appareil est en veille, afin de minimiser la consommation d'énergie. Pour plus de détails, veuillez consulter la fiche technique du DW3000. |
2 | RÉVEILLEZ-VOUS | DI | Lorsqu'elle est réglée sur un niveau élevé valide, la broche WAKEUP fait passer le DW3000 du mode veille ou VEILLE PROFONDE au mode actif. Si elle n'est pas utilisée, cette broche peut être mise à la terre. |
3 | NRSTn | DIO | Broche de réinitialisation. Sortie active basse. Peut être ramenée à l'état bas par un driver externe à drain ouvert pour réinitialiser le dispositif. |
4 | CLK | DI | Horloge SPI |
5 | MOSI | DI | Saisie de données SPI |
6 | MISO | FAIRE | Sortie de données SPI |
7 | CSN | DI | Sélection de la puce SPI. Il s'agit d'une entrée d'activation active basse. Un front descendant sur SPICSn indique le début d'une nouvelle transaction SPI. SPICSn peut également servir de signal de réveil pour sortir le DW3000 du mode veille ou VEILLE PROFONDE. |
8 | IRQ | DI | Sortie de requête d'interruption du DWM3000 vers le processeur hôte. Par défaut, l'IRQ est une sortie active haute, mais elle peut être configurée comme active basse si nécessaire. Pour un fonctionnement correct en modes veille et veille profonde, elle doit être configurée comme active haute. Cette broche est flottante pendant les états veille et veille profonde et peut provoquer de fausses interruptions si elle n'est pas mise à l'état bas. Si la fonction IRQ n'est pas utilisée, cette broche peut être reconfigurée en E/S à usage général (GPIO8). |
9 | GPIO0 | DIO | Broches d'E/S à usage général — reportez-vous à la fiche technique de la puce pour plus de détails |
10 | GPIO1 | DIO | Broche d'E/S à usage général, reportez-vous à la fiche technique de la puce pour plus de détails . |
11 | GPIO2 | DIO | Broche d'E/S à usage général, reportez-vous à la fiche technique de la puce pour plus de détails |
12 | GPIO3 | DIO | Broche d'E/S à usage général, reportez-vous à la fiche technique de la puce pour plus de détails |
13 | GPIO4 | DIO | Broche d'E/S à usage général, reportez-vous à la fiche technique de la puce pour plus de détails |
14 | GPIO5 | DIO | Broche d'E/S à usage général, reportez-vous à la fiche technique de la puce pour plus de détails |
15 | GPIO6 | DIO | Broche d'E/S à usage général, reportez-vous à la fiche technique de la puce pour plus de détails |
16,18,19, 20,21,22,26 | GND | Connectez-vous à la terre d'alimentation (GND) | |
17 | FOURMI | Connexion d'antenne externe 50Ω | |
23,24,25 | VCC | Connectez-vous à la borne positive de l'alimentation (2,4–3,6 V) |

politique de confidentialité
· Politique de confidentialité
Il n'y a actuellement aucun contenu disponible
Courriel : sales@nicerf.com
Tél : +86-755-23080616